Telefon
Telegram
WhatsApp
İnstagram
OTO ÖNDER
OTO ÖNDER
1975’ten bugüne otomotivde tecrübe, ekonomi ve kalite.

Irgat Kömürü 5.8x13x Kömür Küçük Burçlu Set Mercury Marin Anadol Kömürüne Benzeyen Marinlerde Çıkıyor (25 30 40 Yamaha) Karbü | Cargo 140747

Geniş yedek parça ürün yelpazemizle otomotiv , marin ve traktör sektörünün farklı ihtiyaçlarına hitap ediyor, yüksek kalite standartlarımızla araç performansınızı güvence altına alıyoruz.

Irgat Kömürü 5.8x13x Kömür Küçük Burçlu Set Mercury Marin Anadol Kömürüne Benzeyen Marinlerde Çıkıyor (25 30 40 Yamaha) Karbü | Cargo 140747

Ürün Kodu CARGO140747
Açıklama
Sipariş Formu
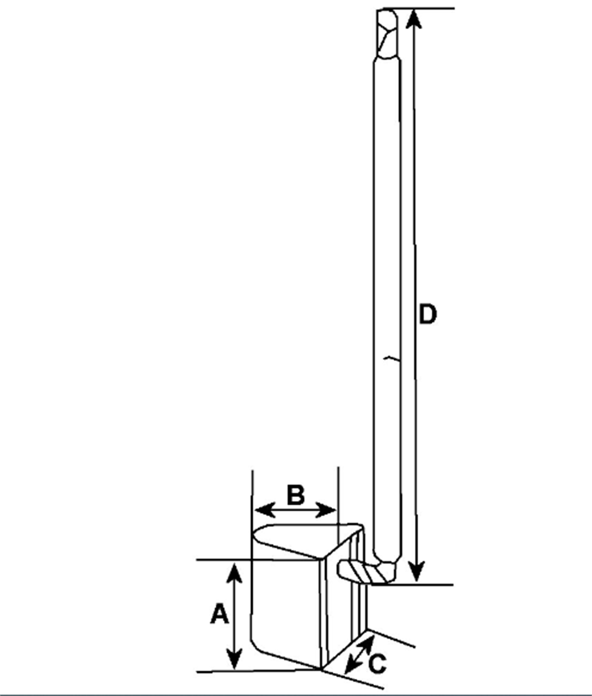
ÖLÇÜLER-
A Length mm 11.10
B Thickness mm 7.90
C Height mm 12.70
D Lead length mm 70.00
D Lead length 2 mm 34.44
No./brushes 4


Voltage 12, Length mm 11.10, Thickness mm 7.90, Height mm 12.70, Lead length mm 70.00, Lead length 2 mm 34.44, No./brushes 4

Cargo 140747
KRAUF SHZ0747MG
service: 390307

MARŞ KÖMÜ TAKIMI BURÇLAR YAYLAR TK

Cargo 140747
KRAUF SHZ0747MGServicing390307Application
BRIGGS&STRATTON